P2Y12 photograph

P2Y12

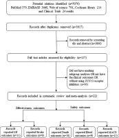
Use attributes for filter !
Date of Reg.
Date of Upd.
ID2079776
Send edit request

About P2Y12


P2Y₁₂ is a chemoreceptor for adenosine diphosphate that belongs to the Gᵢ class of a group of G protein-coupled purinergic receptors. This P2Y receptor family has several receptor subtypes with different pharmacological selectivity, which overlaps in some cases, for various adenosine and uridine nucleotides.

P2Y12 Photos

Related Persons

Next Profile ❯