ISO 9660 photograph

ISO 9660

Use attributes for filter !
Date of Reg.
Date of Upd.
ID2067095
Send edit request

About ISO 9660


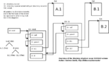
ISO 9660 is a file system for optical disc media. Being published by the International Organization for Standardization the file system is considered an international technical standard. Since the specification is available for anybody to purchase, implementations have been written for many operating systems.

ISO 9660 Photos

Related Persons

Next Profile ❯